| |
||||||||||||||
| [[Home | Experimental Aircraft | JT-5 Autogyro |3D Modeling] | ||||||||||||||
|
||||||||||||||
| Questions and answers Drawing Additions Technical Photo Gallery Pod and Canopy sections Materials & Suppliers |
||||||||||||||
|
|
||||||||||||||
| These pages has been created to help builders in various countries to complete their JT-5 autogyro project. I shall add new pictures and text every nowand then to explain details and answer builder questions. | ||||||||||||||
|
|
||||||||||||||
| Drawing additions: Sheet no.4. Some builders have requested an alternate method for the rotor head main gear machining. One way is to use starter gear ring from an outboard motor or other small engines. A 77Z starter gear rings can be found in Rotax 503 and 505 engines, which can be used in the JT-5 prerotator if the dimensions of the rotor head assembly is altered slightly. Only the ring must be hardened to HB 240-280. You can use schrink fit, spot welding or other methods to fit the gear ring. |
||||||||||||||
![]() |
||||||||||||||
| Sheet no. 9 The following information was missing from the first 4 sets of drawings. I added it to next ones. Please print and add the following text and picture onto the sheet no.9. | ||||||||||||||
![]() |
||||||||||||||
| Correction: I have mentioned twice (in poin1 and 3) that the mold surfaces should be vaxed. Please remove the second text on Point 3 on sheet 9. | ||||||||||||||
![]() |
||||||||||||||
| Optional addition! You can layup the epoxy/fabric on the left side mold at point10 instead of point 3. Actually I recommend this method since you dont need to roughen the the layup surface. This note has been added to the drawings starting 01.01.2000. | ||||||||||||||
![]() |
||||||||||||||
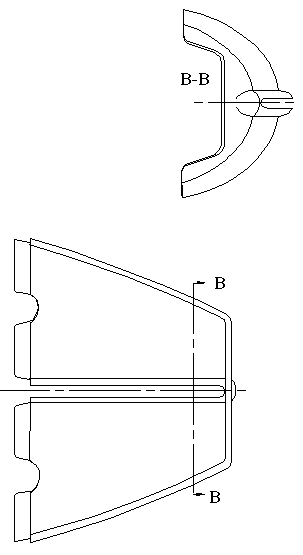
| Sheet no.8 Replace the section C-C text on sheet 8 by B-B as shown below. | ||||||||||||||
![]() |
||||||||||||||